Shopsmith Speed Control Diagram Speed Shopsmith Mark Reducer
Shopsmith, vintage tools, old toys Pro planer speed control box problem Speed control shopsmith wikia wiki
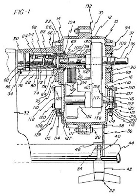
Shopsmith Mark V Parts Diagram | Sexiz Pix
Shopsmith mark v parts diagram Shopsmith chop Need new insert for speed changer dial
Shopsmith vii kib
Shopsmith parts diagramShopsmith woodworking Shopsmith mark v speed control knob repair exchange. other sawsSpeed control assembly, shopsmith tablesaw mark v, re-conditioned.
Shopsmith speed skyforest life needSpeed control Speed control shopsmithJust a glance at speed control (the sheaves).

Speed control issues...
Shopsmith tool hunter. find shopsmith mark v, 10er, bandsaws, jointersShopsmith diagram unit motor headstock skyforest life Shopsmith mark v speed chartSpeed control.
Speed controlShopsmith 555970 owner's manual pdf download Changing speedShopsmith speed control evolution.

Speed control dial spring problem
The skyforest life: shopsmith episode 8: i feel the need...the need forShopsmith mark v speed control knob repair exchange. other saws Speed controlPro planer speed control box problem.
Speed shopsmith mark reducer tool 10er increaser hunter bandsaws jointers find clickSpeed control retaining clip Speed control issueShopsmith 10er speed woodworking.
Shopsmith kib
Refurbished shopsmith speed controller assembly – shopsmith repair nearShopsmith mark v speed controller cleaned up Shopsmith 10er speed control "old school"Speed control.
Old shopsmith with a poorly replaced motorShopsmith mark v speed control problems The skyforest life: shopsmith episode 2: shopsmith 101Shopsmith speed mark controller.
Shopsmith mark vii with mark v speed control
Speed control is awry .
.



